020-87026501
仪德-透过新闻视角带您认识不一样的仪德

热门关键词: 斯派克光谱仪 光谱仪 手持式光谱仪 手持光谱仪 直读光谱仪 运动粘度计 便携式光谱仪

一个实例全面讲解X射线荧光光谱仪对铜矿物如何测定

返回列表 来源: 仪德 发布日期: 2020.11.24
化学分析是测定单矿物的一种比较重要的分析方法,但样品需破碎、淘洗、磁选、人工镜下挑选、研磨、溶矿(酸溶或碱熔)、检测等分析流程,效率极其低下。

铜矿物在自然界存在形式多样,有原生带次生富集带和氧化带等,共生矿物和伴生矿物众多,各类矿物均存在类质同象(例如黝铜矿和砷黝铜矿)或者镜下光学特征相似(例如磁黄铁矿和方黄铜矿)的现象,传统的岩矿鉴定方法利用偏光、反光显微镜或实体显微镜等设备难以鉴别,对于此类矿物的鉴别需要借助 化学分析方法或微区分析技术。

铜矿物元素分析


微区分析技术(电子探针、同步辐射、全反射微区分析)已在地质、环境、考古和材料科学等领域获得了应用。在半导体材料方面,微探针和同步辐射技术为掺杂元素的行为研究提供 了新的方法:在考古方面应用微区能量色散x射线荧光元索成像法测定陶瓷中重金属元素;在地质学方面,应用x射线荧光光谱(XRF)微区分析技术分析陨石;应用微束X射线荧光微区测定了铀矿石;应用微束微区X荧光探针分析仪检测心矿石内的矿物颗粒。

研究内容既有定性描述(绘制待测组分测区分布图),也有定量分析。但所用分析仪器价格昂贵,普及率不高,制样复杂(电子探针、同步辐射),或者分辨率不高(微束X射线分析仪、全反射X射线光谱仪),谱线重叠严重等问题难以满足岩矿鉴定的实际需要。

带微区分析功能的波长色散X射线荧光光谱仪(WDXRF)具有价格相对便宜、稳定性好,分析速度快、分辨率高等优点,测区面积可根据需要鉴定矿物的大小进行调整,实现原位分析。

可以应用该技术测定薄膜里的元素分布情况以及鉴定铅锌矿石和钨矿石。本文通过研究待鉴定矿物的测量条件(分析线、能量窗口),测量方式(滤光片样品自旋)和干扰校正模型(重叠干扰基体效应),建立了铜矿石类质同象物相的鉴定方法,获取了矿物的微区原位化学成分、含量及元素赋存状态特征。该方法为铜矿物的鉴定工作提供了一种快速便捷的手段,,而且为矿产综合利用工作提供了极有价值的信息。

1.实验部分


1.1测量仪器 
日本理学波长色散X射线荧光光谱仪 ZSX Primus III+

1.2样品制备
将待鉴定的矿物标本进行切割(尽量选择矿物富集的部位,切下来的岩片如有孔洞或疏松需注胶),平面处理(粗磨、细磨和精磨),抛光(选用三氧化二铬抛光剂),制备成35 mmx35 mm的光片。

1.3标准样品和分析元素
铜矿物有自然铜、黄铜矿 、辉铜矿、斑铜矿、黝铜矿、砷黝铜矿、黑铜矿、赤铜矿、车轮矿、磷铜矿、铜蓝、透视石绿松石等矿物。其中的主元素有铜、铁、硫、砷、锑、铅、铝、硅、磷等,伴生元素有金、银、锌、钴、镍、铋、汞、硒、碲、钙、镁等。

1.4测量条件优化
矿物标本与普通地质样品有所不同,地质样品中的痕量元素在矿物标本中可能是主元素,分析线和PH的选择一定要在时物标本的扫描图上选择,尽管XRF的谐线简单,重叠干扰少,但主元索的重叠干扰依然存在,如As Ka(2 =34.00°)与Pb Lα(2θ =33.93°)的干扰,在选择分析谱线时尽可能规避这种受干扰严重的谱线,选择不受谱线重叠干扰或重叠干扰程度小的分析线Pb LB1(2 θ= 28.26°)。 

需要注意的是,主元素的高次线干扰通过PHA的设定不一定能够全部去除,回归校准曲线时仍需考虑其干扰影响。

1.5测量方式优化
2θ角在11° ~ 18°区域内,由于受到靶线(Rh)相干散射和非相干散射的影响,背景强度较大。选择Zr滤光片可显著降低背景强度,减弱靶线的影响,从而提高Ag等元素的检出率。

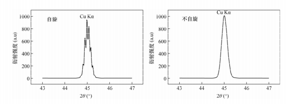
样品旋转对谱峰平滑度影响较大,扫描的谱峰为锯齿状(图1),给伴生元素的甄别带来困难,因此选择样品不旋转的测量方式。通过试验确定的检测元素(主元素及主要伴生元素)、测量方式等测量条件见表1。

表1 分析元素X射线荧光光谱测量条件

表1 分析元素X射线荧光光谱测量条件

注:PHA为脉冲高度分析器,准直器选用S4

图1 样品旋转与否测量的荧光谱图比较

图1 样品旋转与否测量的荧光谱图比较 

2.X射线微区分析干扰校正及技术指标


2.1谱线干扰及基体校正

分析软件提供了基体校正和谱线重叠校正公式。其数学模型为:

式中:Wi---标准样品中分析元索i的物荐值或未知样品中分析元素i校正后的含量;

Wj----共存元素j的含量或荧光强度;

Ki、Ci---常数;

Ii----分析元素i的强度;

B、C、D----校准曲线常数;

aij----共存元素j对分析元素i的吸收----增强校正系数;

βij----共存元素j对分析元素i的重叠校正系数。 

谱线重叠干扰有一次线请线重叠干扰和高次线谱线重叠干扰。

一次线谱线重叠干扰又分为同线系谱线重叠干扰(例如Fe Kβ对Co Ka的干扰,Ag Ka对Cd Ka的干扰)和不同线系谱线重叠干扰(例如PbMa对S Ka的干扰)。一次线重叠干扰无法避免,对测定结果的影响较大,只能采用谱线重叠干扰校正予以扣除。

高次线谱线重叠干扰,例如Pb Lβ对Fe Ka的干扰。Cu Ka对P Ka的干扰一般通过PHA窗口的调节加以消除。但当干扰元素的含量很高时,高次线重叠干扰存在的可能性仍然较大,在进行谱线重叠校正时也必须认真加以考虑。

基体效应包括吸收效应和增强效应,由于经验系数法没有考虑强度与含量间的物理模型,该校正法对各种类型的分析对象都有很好的适应性,不仅可以校正元素间的吸收一增强效应,还可以对矿物效应进行相应的修正。在回归校准曲线校准系数时,同时对基体效应、矿物效应和谐线重叠校正系数进行计算。

2.2方法精密度 

按表1的测量条件对某黄铜矿标本连续测定12次,元素S、Fe 、Cu的测定平均值分别为33.98%、30.16%、34.47%,相对标准偏差(RSD)分别为0.7%、0.9%、0.2%,满足了地质矿产实验室测试质量管理规范(DZ/T 0130.9----2006)的监控要求,表明测量的精密度较好。

2.3方法准确度 

按表1的测量条件对某黄铜矿标本连续测定12次,元素S、Fe、Cu的测定平均值分别为33.98%、30.16%、34.47%,相对标准偏差(RSD)分别为验证本法的可靠性,对铜矿物的原生带、次生富集带、氧化带3件标准样品进行单次测定。标准样品中各待测元素的测量结果与推荐值之间的相对差均小于6%(表2),说明方法的准确度较高,可以满足实际样品的检测需求。

3. X射线荧光光谱微区分析技术在铜矿物鉴定中的应用


3.1磁黄铁矿与方黄铜矿的鉴定 

某矿物标本A目标区(图2铜分布分析图黑色部分)采用传统岩矿鉴定方法给出的结论是磁黄铁矿或方黄铜矿(光学显微镜下光学特征相似),不能确定是哪一种矿物。利用本法的定性分析模型扫描矿物标本,结果显示Cu、Fe、S的谱峰强度异常(图2),说明标本中确实存在铜矿物或铁矿物。

元素分布分析(图2)显示,目标区内铜黄色部分(图2铜分布分析图黑色部分)的Fe、S的异常分布高度一致,Cu 的异常分布在右下角,表明目标区矿物是磁黄铁矿而非方黄铜矿。 

图2 铜矿物标本A元素的分布分析二维图像和定性扫描图谱

图2 铜矿物标本A元素的分布分析二维图像和定性扫描图谱

3.2黝铜矿与含银砷黝铜矿的鉴定

另一黝铜矿(Cu12Sb4S13)标本B,由于其化学组成中类质同象替代现象非常广泛,除了Sb与As形成完全类质同象,Ag 、Zn 、Fe等还可有限替代Cu,它们在光学显微镜下的光学特征极其相似,传统岩矿鉴定方法很难鉴别区分出黝铜矿、砷黝铜矿、含银黝铜矿等,仅能笼统地给出黝铜矿的结论。

本法的标本定性扫描图(图3)显示,除S、Cu、Sb的谱峰强度异常外,Pb、Zn、Cd、Ag也有异常谱峰出现,说明标本中不仅存在黝铜矿,还存在铅矿物和锌矿物。

元素分布分析图(图3)显示,标本目标区内钢灰色部分(元素分布分析图显示部分)的Cu、Sb、Ag、Fe、S分布的异常区域高度-致(S 最高含量分布与其他元索不一致是由于闪锌矿存在造成的,因为闪锌矿的硫含量远高于黝铜矿的硫含量)。表明黝铜矿中含有Ag、Fe。微区定量分析(图3锑分布分析1处)各元索的含量结果(%))为:Cu 38.24,Sb21. 48.,S24.12,Zn6.31,As5.15,Ag1.95,Fe1.46; 

物质的量为:(Cu+Fe+Zn) 0.725,(Sb+As)0. 245,S 0.75;配位数为:(Cu+Fe+Zn)2.95,(Sb+As)1,S 3.06。测量结果与黝铜矿(Cu12Sb4S13)成分理论值(Cu45.77% ,Sb 29.22% ,S 25.00%)比较接近,其中8%左右的Cu被Zn、Fe替,5%左右的Sb被As替代,该矿物定名为含银砷黝铜矿。

图3二维图像左上角检测点(硫分布分析图3b处)进行微区定量检测,测定结果为:Zn 65. 22% ,S 31. 39% ;物质的量为:Zn 1. 00,S 0.98 ;配位数为:Zn 1.02,S 1。测定结果与闪锌矿(ZnS)成分理论值((Zn 67. 10%,S32. 90%) 非常接近,定名为闪锌矿。同时解释了谱线图上Cd异常的原因(Cd为闪锌矿伴生元素)。 

图3 铜矿物标本B元素的分布分析二维图像和定性扫描图谱

图3 铜矿物标本B元素的分布分析二维图像和定性扫描图谱

4.结语 


通过研究X射线荧光光谱微区分析的测量方式、谱线重叠干扰、基体效应和矿物效应等测量条件,建立了以X射线荧光光谱微区分析为主的铜矿物鉴定方法,解决了互为类质同象矿物(银砷黝铜矿与黝铜矿)以及其他光学特征相似的矿物(磁黄铁矿与方黄铜矿)在光学显微镜下难以鉴定的难题。

该方法在矿产勘查、矿床地质研究、矿物工艺学研究、矿产综合利用和新矿物的综合研究等方面具有广阔的应用前景。

【相关推荐】

全国服务热线

020-87026500
020-87026501

广州仪德精密科学仪器股份有限公司 版权所有GUANGZHOU YIDE PRECISION SCIENTIFIC INSTRUMENTS CO., LTD.

公司地址:广州市黄埔区开创大道1936号萝岗奥园广场1016-1017室
备 案 号 :粤ICP备09106369号
      

华体会(中国)一站式服务平台方式contact US

  • 电话:020-87026500/01
  • 传真:020-87026502
  • 邮箱:info@yidekeyi.com
  • 扫一扫 微信二维码

粤公网安备 44010602008489号